
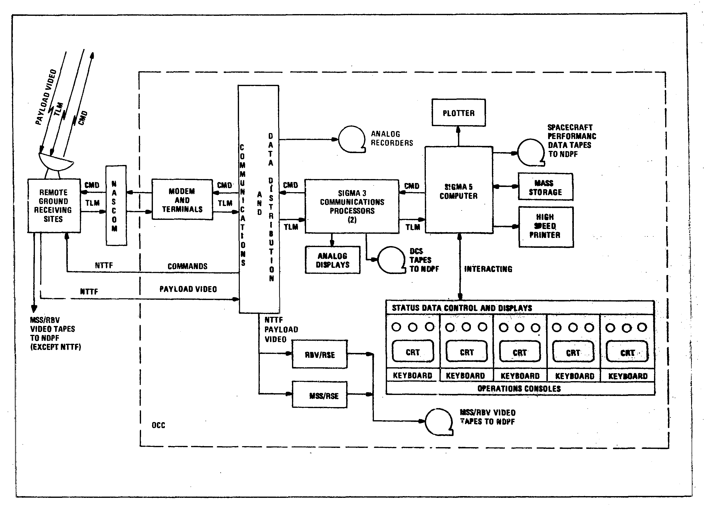
ERTS – Data Users Handbook – Figure D-1.
Major Elements of Operations Control Center.
Image Credit: NASA
- X
https://science.nasa.gov/image-detail/amf-4caf427e-bdc3-489e-84ff-5e18a8920c94/
Image CreditNASA
Size2845x2046px

Major Elements of Operations Control Center.