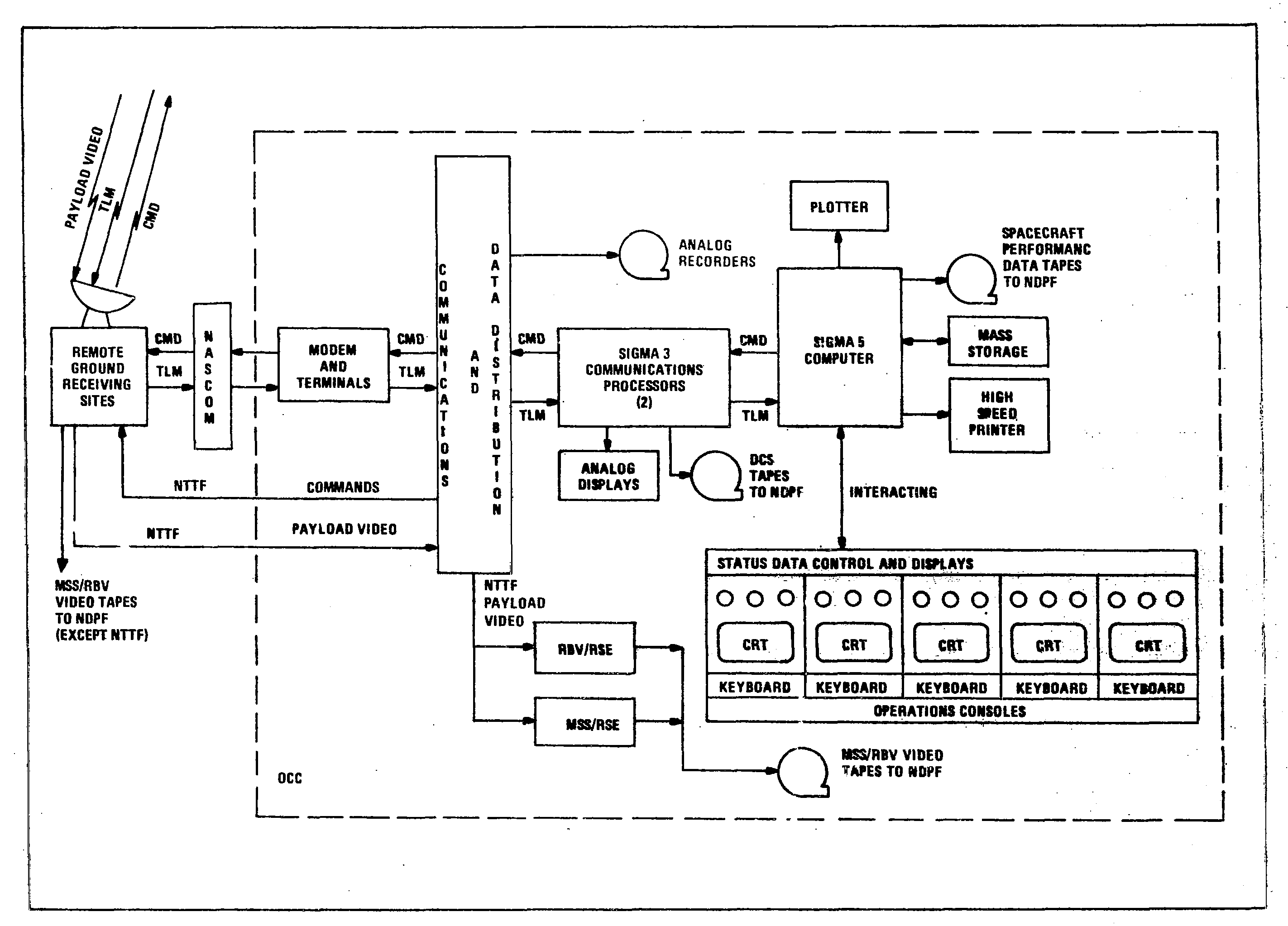
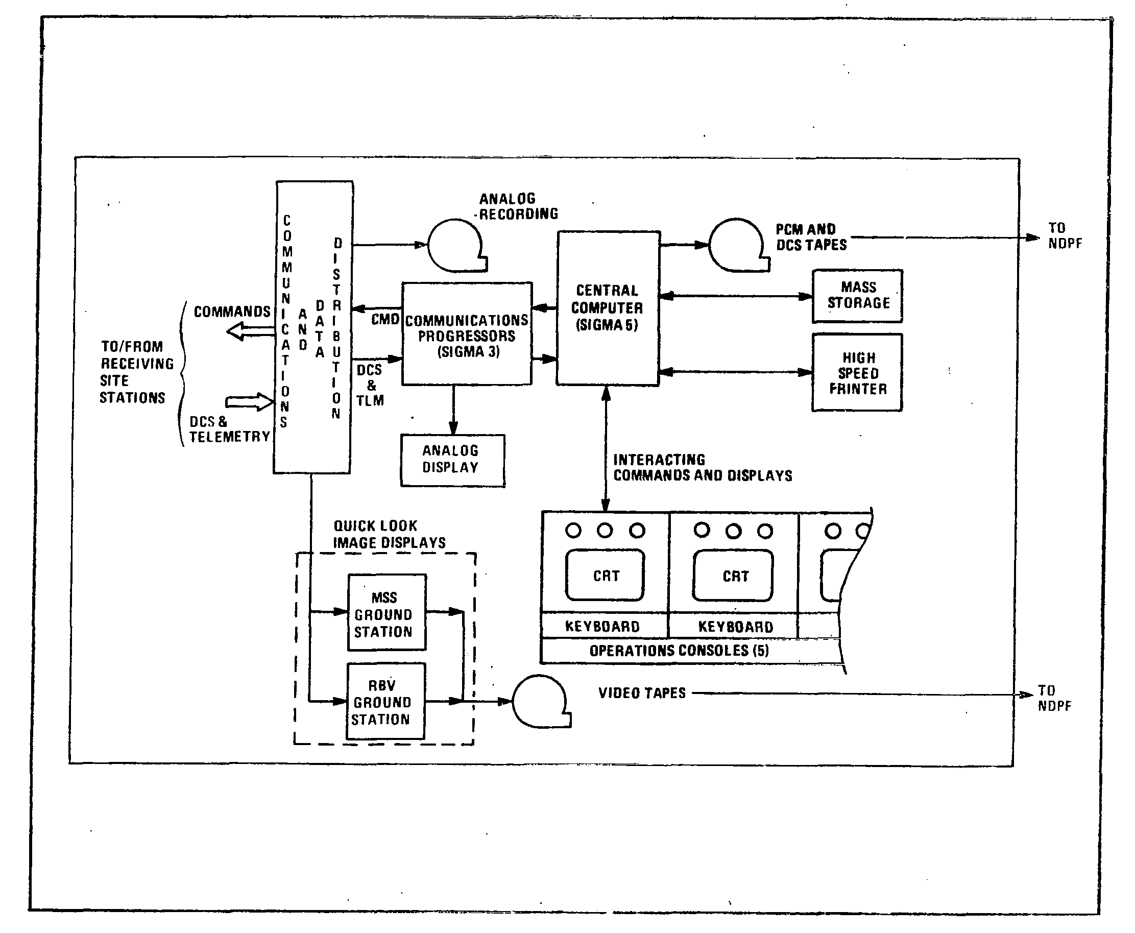
Landsat Diagrams and Technical Illustrations
This gallery includes Landsat technical illustrations, diagrams, sensor schematics, and orbital visualizations.
This gallery includes Landsat technical illustrations, diagrams, sensor schematics, and orbital visualizations.






















.png?w=2123&h=958&fit=clip&crop=faces%2Cfocalpoint)










