Dawn Spacecraft Diagram No. 2
December 12, 2018
| Credit | NASA/JPL-Caltech/M.D. Rayman et al./Acta Astronautica 58 (2006) 605 – 616 |
|---|---|
| Language |
|
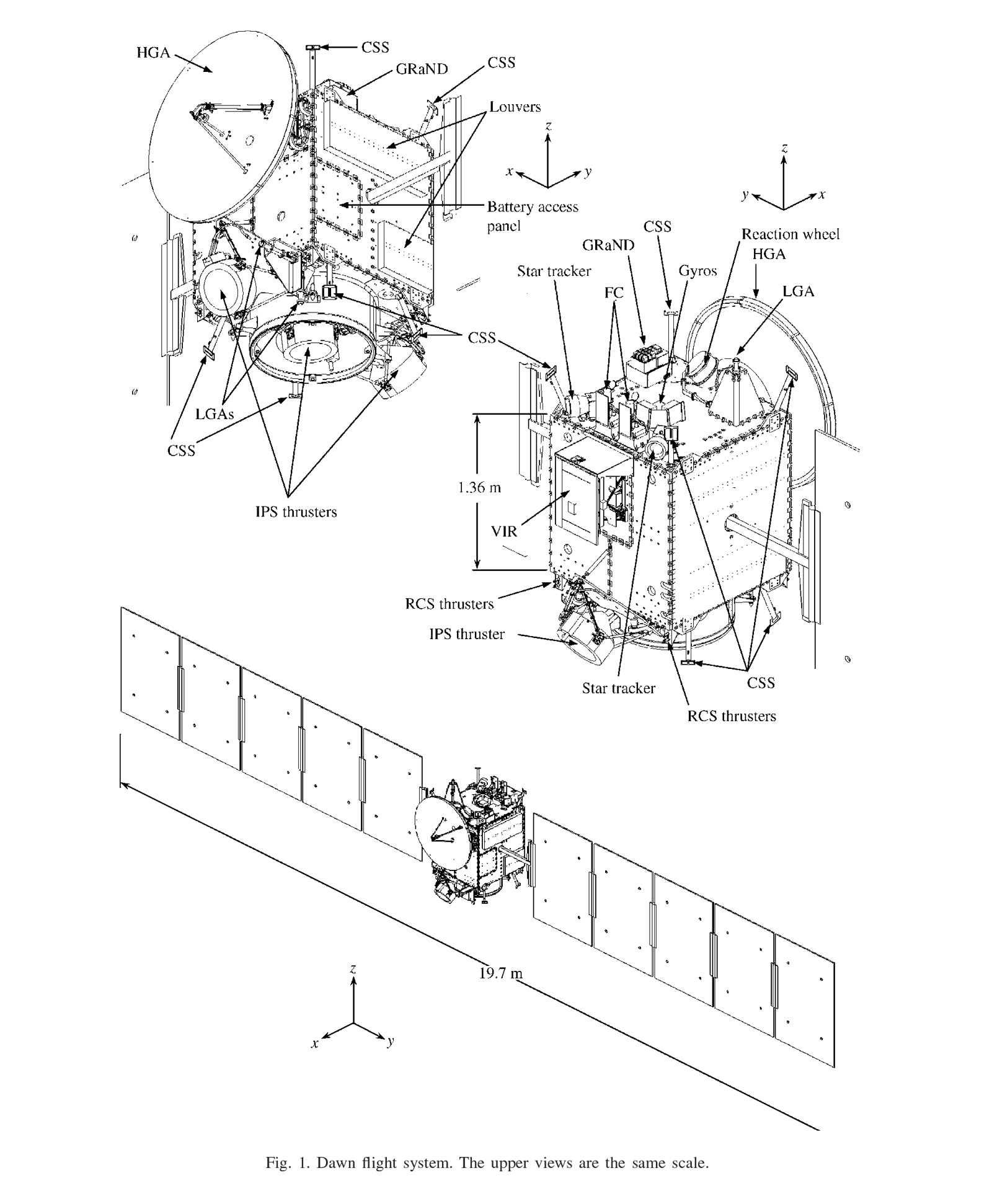
A diagram of the Dawn spacecraft from 2006.




